電磁除鐵器
RCDB系列干式電磁除鐵器(亦稱PDC系列盤式、RCDY系列)是一種用于清除粉狀或塊狀非磁性物料中雜鐵的除鐵裝置。其內部采用電工專用樹脂澆注,自冷式全密封結構。具有透磁深度大、吸力強、防塵、防雨、耐腐蝕等特點,在惡劣的環境中仍能可靠運行。可與CF、CFL系列懸掛式電磁除鐵器通用。
其主要性能指標均達到或高于JB/T7689-2004標準要求,該產品可除去混雜在非磁性物料中0.1~35公斤的鐵磁性物質。


技術參數:
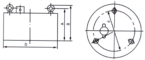
項目 | 適應帶寬 | 額定吊高h | 磁場強度 | 物料厚度 | 勵磁功率 | 適應帶速 | 重量 | 外型尺寸mm | |||
參數 | |||||||||||
型號 | A | B | Dф | dф | |||||||
RCDB-3 | 300 | 75 | 50 | 50 | 0.4 | 4.5 | 185 | 210 | 250 | 400 | 280 |
RCDB-4 | 400 | 100 | 50 | 70 | 0.6 | 300 | 240 | 280 | 500 | 400 | |
RCDB-5 | 500 | 150 | 60 | 90 | 1 | 430 | 280 | 325 | 610 | 450 | |
RCDB-6 | 600 | 175 | 60 | 120 | 1.6 | 580 | 280 | 325 | 710 | 500 | |
RCDB-6.5 | 650 | 200 | 70 | 150 | 2 | 680 | 280 | 325 | 816 | 640 | |
RCDB-8 | 800 | 250 | 70 | 200 | 3.6 | 950 | 310 | 355 | 960 | 780 | |
RCDB-10 | 1000 | 300 | 70 | 250 | 5 | 1520 | 310 | 360 | 1200 | 920 | |
RCDB-12 | 1200 | 350 | 70 | 300 | 6.8 | 2250 | 310 | 365 | 1400 | 1000 | |
RCDB-14 | 1400 | 400 | 70 | 350 | 9 | 2950 | 405 | 485 | 1650 | 1400 | |
RCDB-16 | 1600 | 450 | 70 | 400 | 13 | 4800 | 460 | 540 | 1900 | 1650 | |
RCDB-18 | 1800 | 500 | 70 | 450 | 18 | 6900 | 530 | 610 | 2150 | 1800 | |
關注微信
